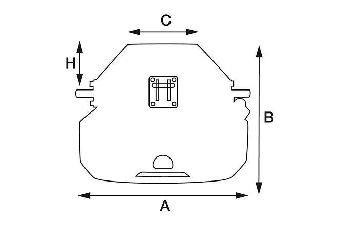
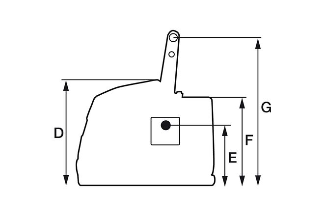
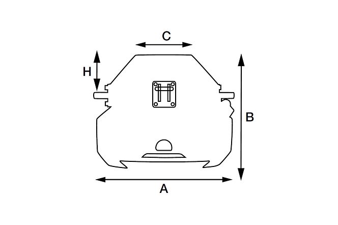
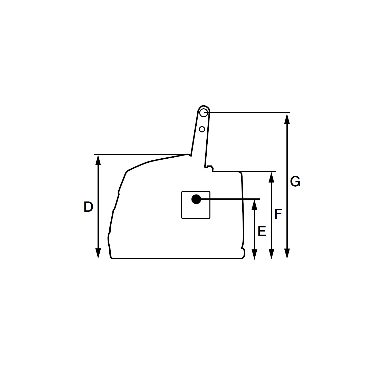
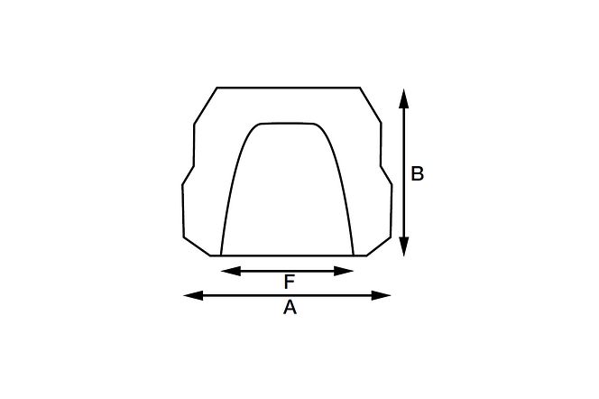
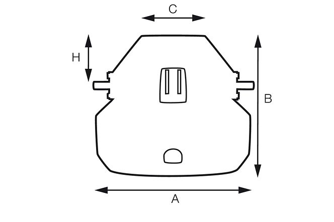
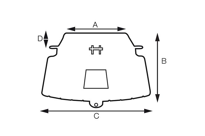
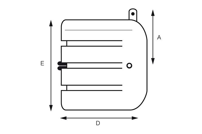
With the new DRIVE-IN concept, for example, the front weight can be adjusted easily and in just a few minutes to the tractor's current requirements. Of course, other types of simple reinforced concrete ballast weights and weights manufactured from the innovative material magnetite are also available.





































